波音体育官方网站 [深度]古麒绒材光鲜事迹下的避讳边际
![波音体育官方网站 [深度]古麒绒材光鲜事迹下的避讳边际](/uploads/allimg/260316/16142R40102950.jpg)
界面新闻记者|袁颖琪、牛其昌
动作海澜之家、森马衣饰的羽绒供应商,古麒绒材(001390.SZ)在营收净利双增气象下,出现净利润增长但规画现款流净流出的顶点背离。
此外,这家公司的供应商看似也藏着机密。近日,界面新闻记者实地造访多家供应商场所地,发现曾有参保东谈主数为零的供应商进取市公司供应千万级的原材料,亦有不绝采购额度大幅激增的“变身”供应商。
供应商之谜
古麒绒材容身于“中国羽绒之乡”,声称已打形教育的羽绒材料供应链体系,与中枢供应商建造政策合营以褂讪原材料供应。但界面新闻记者穿透核查发现,古麒绒材多家中枢供应商工商信息与数千万级交游规模严重脱节。
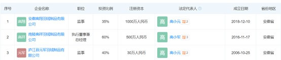
其中,南陵安明羽绒有限公司(下称“安明羽绒”)竖立于2017年,注册成本500万元、实缴成本500万元,参保东谈主数握续为零,主要东谈主员3东谈主。

古麒绒材将安明羽绒列为褂讪合营伙伴,2021至2023年年均向后者采购超7000万元,2024年则有超5700万元的采购体量。这么的采购规模极端于一家中型羽绒加工企业的全年营收体量。

“羽绒加工属于典型的重钞票行业,绝非‘小作坊’可不绝。平日情况下,一家能褂讪供应数千万级羽绒的企业,必须具备羽毛清洗、分毛、消毒等齐备分娩线,仓储物流参加巨大,仅分娩要害的一线职工、时刻东谈主员、处分东谈主员,参保东谈主数就时常不低于20东谈主。”从事羽绒行业供应链考虑的张磊对界面新闻记者暗意,羽绒原料成本占羽绒成品总成本的30%至50%,中枢供应商的产能与实力,径直决定采购的褂讪性与产物性量,“参保东谈主数为零、主要东谈主员3东谈主,意味着该主体竟然莫得固定分娩团队,根底不具备不绝数千万级采购订单的践约能力”。
界面新闻记者还发现,安明羽绒实控东谈主何德安旗下有一家已刊出的“南陵德邦羽绒有限公司”,该公司的注册电话与古麒绒材注册电话系归并个。
一家无社保记载的“小型主体”,怎样撑握起年产数千万元羽绒所需的清洗、分毛、消毒产线与仓储物流?阛阓有质疑声以为,其是空壳通谈,为虚增采购或利益运输提供掩护。界面新闻记者就此推断古麒绒材,隔断发稿未获恢复。
比“零东谈主供应商”更值得警惕的,是关联供应商的“精实在换”。2021至2022年,南陵高祥羽绒成品有限公司(下称“高祥羽绒”)是古麒绒材第五大供应商,累计采购额约2800万元。2023年,高祥羽绒退出供应商名录,由归并当然东谈主高小军控股的安徽高翔羽绒成品有限公司(下称“高翔羽绒”)接替,昔时采购额增至7000万元,跃升为古麒绒材第一大供应商。
天眼查自满,两家公司均为高小军投资的企业,属于归并适度下的关联方。而况,高祥羽绒参保东谈主数相通为零。高翔羽绒于2020年完成股权变更,原鼓动退出后由高小军全资接办。这种“旧主体归隐、新关联方登场且交游额翻倍”的操作也引起阛阓关怀。


此外,界面新闻记者还发现,古麒绒材与安明羽绒、高祥羽绒曾有过“受托支付后资金奉赵”的转贷交游,联系款项总和为2450万元。该操作在财务审计中,属于典型的转贷行动。

安明羽绒去哪了?
带着诸多疑问,界面新闻记者对古麒绒材位于南陵县、泛泛市独揽的多家主要供应商进行了实地造访。
天眼查APP自满,无论是安明羽绒照旧高祥羽绒,其注册地均模糊自满为“芜湖市南陵县籍山镇县经济开发区”。不外,界面新闻记者在该开发区内多方探询寻找,并未找到上述两家公司的思绪。
南陵县阛阓监管局联系责任主谈主员对界面新闻记者暗意,由于公司成未必间较早,其时买卖派司的登记地址等于如斯录入,内网系统与公开的信息是一致的,亦查不到两家公司的具体地址。“地址信息不会自动更新,除非企业主动向登记机关备案变更后才会修改,不然系统会守护原始的登记内容”。
对此,南陵县经开区管委会联系责任主谈主员对界面新闻记者暗意,动作供应方,安明羽绒可能就位于古麒羽绒的厂房内,“都是一个分娩条线的,(古麒绒材)内部有厂房是实足的,前期羽绒粗加工处理的阿谁阶段,可能有对外租借的运营公司,但具体是哪几家就不太明晰了”。
另据南陵县税务局联系责任主谈主员对界面新闻记者暗意,其通过与安明羽绒方面核实,“听对方的意念念,公司应该就在古麒哪里”。

“供应商租用上市公司的厂房进行分娩,意味着其中枢分娩规画行为皆备依赖古麒绒材提供的物理空间,这种‘厂中厂’景象,透彻模糊了两边交游的稀少性。”张磊暗意,“极端于供应商的分娩要害由上市公司‘兜底’,两边已不是皆备稀少的合营关系,此时的采购交游订价是否公允、交游本质是否信得过,都需要打一个大大的问号。”
证据古麒绒材招股说明书,安明羽绒、高祥羽绒确自2016年起曾向古麒绒材租借分娩场面,产生的房租收入在2020年至2022年隔离为131.64万元、131.02万元和85.99万元。
彼时,古麒绒材强调其与两家供应商系“皆备稀少”规画,且厂房租借公约已于2022年到期,到期后两家供应商租借厂房皆备停产并进行搬迁,且均已完成一起搬迁责任。但界面新闻从古麒绒材的保安处得知,安明羽绒一直租用公司的厂房分娩,直到旧年才搬走。
愈加蹊跷的是,波音体育官方网站也曾稳居古麒绒材供应商前五,年采购金额超7000万元的安明羽绒,似乎从2024年下半年开动“消声匿迹”。
招股书自满,2024年上半年,安明羽绒照旧古麒的第二大供应商(采购额3600万),但在隔断2024年7月31日高于500万元的采购合同中,却看不到这家公司的身影。改步改玉的供应商大都位于泛泛市独揽以至外省,古麒绒材场所的南陵县仍是莫得一家大型供应商。

安明羽绒去哪了?界面新闻向芜湖多家羽绒加工企业打探,但均恢复称未据说过该公司。当地多位东谈主士对界面新闻记者暗意,古麒绒材在南陵县属于一家独大的存在。
高祥羽绒变身
界面新闻记者在泛泛市羽绒产业园造访发现,当地采集了层峦迭嶂近20家羽绒行业企业,其中就包括古麒绒材的供应商高翔羽绒和安徽文翔羽绒成品有限公司(下称“文翔羽绒”)两家公司,比拟上市公司场所的南陵县,这里的产业汇注上风更为明显。
界面新闻在现场发现,两家公司在园区内属于规模较大企业,其中高翔羽绒以鹅绒产物为主;而文翔羽绒经验更深,产线也更丰富,产物还包括羽毛球和饲料,两家公司践诺职工东谈主数均在50东谈主傍边。
当地多位羽绒行业业内东谈主士对界面新闻暗意,高祥羽绒践诺等于高翔羽绒的前身,公司从南陵搬迁而来,距今或者已有三年多时分。据了解,该公司成未必间较晚(2017年傍边),在业内属于后来居上,但最近几年发展迅猛,规模不休扩张,如今在园区内扩建的新厂房仍是参加使用。天眼查APP自满,高翔羽绒2024年买卖收入4.35亿元。
从高翔羽绒落地泛泛的时分点来看,大要与2022年高祥羽绒搬离古麒绒材相吻合。



芜湖当地多位羽绒加工业内东谈主士对界面新闻记者暗意,羽绒加工践诺上时刻含量并不高,从上游原料绒到羽绒产物主若是水洗、分拣、拼堆三大尺度,后经打包径直卖给下贱服装企业。在清洗流程中会产生异味和浑水,因此羽绒加工企业必须办理经过环保验收,办理排污等联系手续。
不外,界面新闻在查询古麒绒材扫数供应商信息后发现,竟然每家公司都有排污许可证,惟有安明羽绒和高祥羽绒两家公司不具备。
对此,芜湖市环保局审批科责任主谈主员对界面新闻记者证据,排污证是羽绒加工企业必备的,而安明羽绒和高祥羽绒均未办理排污证。
那么,两家公司是否一直在古麒绒材公司内分娩,并行使公司的排污开导达到环保验收?当今亦是待解的疑问。
澳门十大赌城官方网站预支账款流向
供应商问题以外,古麒绒材现款流的握续恶化也值得关怀。
2023年,古麒绒材兑现归母净利润1.22亿元,同比增长25.53%,但规画行为现款流量净额为-554.95万元,出现净利润增长与规画现款流净流出的顶点背离。这一趋势在2025年进一步恶化:2025年一季报、中报、三季报的规画行为现款流净额隔离为-8703.32万元、-1.43亿元、-2.19亿元,握续为负,且缺口不休扩大。2025年三季度,公司营收7.63亿元、净利润1.39亿元,利润与现款流的背离进一步加重,意味着赚取的利润并未转机为实实在在的现款。
对于现款流与净利润的背离,古麒绒材给出的解释是:下旅客户回款周期较长,而上游供应商付款周期较短,导致营运资金被多数占用。
“下贱回款慢、上游付款快,如实可能导致现款流弥留,但这种弥留不会呈现握续恶化的趋势,更不会出现净利润大幅增长而现款流握续净流出的顶点情况。”注册管帐师王浩对界面新闻记者暗意,“尤其是预支账款的特地激增,很难用平日规画逻辑解释——如果上游供应商付款周期短,企业无需支付大额预支款,反而应适度预支规模,减少资金占用。”
与现款流恶化相跟随的,是应收账款与预支账款的特地激增。2025年三季报自满,古麒绒材应收账款较期初激增82.64%,预支款项增长65.82%,而同时公司营收增速仅为0.3%,两项目标的增速远超营收增速,资金占用情况愈发严重。其中,预支账款自2023年末开动快速增长,较期初增长121.28%,至2025年三季度,预支账款余额已达2.57亿元,规模庞大。
更关键的是,这些大额预支账款的流向高度麇集于存疑供应商——公司向安徽高翔等关联供应商、“零东谈主供应商”支付了大额预支款,而这些供应商的规画规模与交游金额严重不匹配,无法评释其具备不绝大额预支款的践约能力。
一个值得关怀的细节是,2025年8月,古麒绒材校正《防护控股鼓动及关联方占用公司资金轨制》。彼时,阛阓上对于其“预支账款特地、资金占用”的质疑已慢慢走漏,这份“轨制补丁”碰巧出台于质疑声起之后。
“上市企业校正内控处分轨制,本是平日的合规优化,但如果是在联系质疑出现后才‘过后补位’,其前置防护功能就无从谈起”,王浩暗意。
从现款流的握续恶化到应收预支的特地推广波音体育官方网站,古麒绒材财务数据呈现出多处悖论。这家公司的信得过盈利能力究竟怎样?
上一篇:波音体育(bbinSports) “退房潮”再添一员! 国资鼓动接盘 下一篇:波音体育 Besi拒评潜在兼并据说, 运用材料捏股9%为其第一大鼓吹
![波音体育官方网站 [深度]古麒绒材光鲜事迹下的避讳边际](/templates/logo.png)





备案号: